ក្រុមហ៊ុនផលិត iPhone, iPad ទើបតែធ្វើការចុះឈ្មោះសុំយក ប័ណ្ណប៉ាតង់ និង Copyright របស់អាមេរិច ពីឧបករណ៍អេឡិចត្រូនិច ដែលមានអេក្រង់ AMOLED កោងថ្លា ពេញផ្ទៃទាំងមូល។
តាមប្រភពពី Apple Insider, ក្រុមអ្នករចនាម៉ូតបានគិតយ៉ាងច្បាស់ថា បណ្តាផលិតផលបច្ចេកវិទ្យាដូចជា ទូរស័ព្ទ រឺ Tablet បច្ចុប្បន្ននេះ គឺត្រូវបានបញ្ឈប់ត្រង់ការរចនាម៉ូត តាមផ្ទៃរាបស្មើ។ បើទោះជាយើងមានការកែច្នៃខ្ពស់ និងជួយឲ្យឧបករណ៍ងាយស្រួលចាប់កាន់ ប៉ុន្តែនៅតែមិនបានប្រើអស់ផលប្រយោជន៏ នៃផ្ទៃដែលអាចប្រើប្រាស់បាន។ ជាមួយរូបរាងអេក្រង់ដែលមានរាងកោងព័ទ្ធជុំវិញឧបករណ៍ទាំងអស់ បទពិសោធន៍របស់អ្នកប្រើប្រាស់ អាចទទួលបានភាពប្រសើរជាងមុន ជាពិ-សេស បណ្តារូបភាពណាដែលមានទំហំធំហួសប្រមាណ ដែលស្មាតហ្វូនធម្មតាមិនអាចមើលអស់។

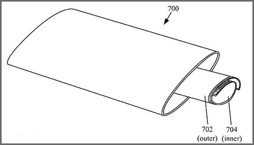
Apple កំនត់ថានឹងប្រើប្រាស់កញ្ចក់ រឺសារធាតុដ៏សមរម្យណាមួយ ដើម្បីការពារបានផ្ទៃទាំងមូលនៃ Frame របស់ឧបករណ៍ ទាំងការរចនាម៉ូត និងផ្ទៃដែលប្រើប្រាស់។ ការច្នៃប្រឌិត នៃផ្នែកខាងក្រៅ Frame នេះគឺមានរាងបំពង់កែវ ដែលអាចធានាដល់សញ្ញាណ Wireless មិនត្រូវបានដាច់ឡើយ។ ជាក់ស្តែង នៅក្នុងដំណាក់កាលនៃការផលិត Apple អាចប្រើប្រាស់សារធាតុមួយចំនួនផ្សេង ដើម្បីពង្រឹងនូវផ្នែកខាងក្រៅរបស់ Frame ផលិតផល។

ក្នុងនោះ ការកែច្នៃផ្នែកខាងក្នុងនៃ Frame អាចប្រើប្រាស់ការរចនាម៉ូតច្រើនផ្សេងគ្នា តាំងពីរាងជ្រុងទ្រវែង ដល់រាងដូចបំពង់ (ស៊ីឡាំង) ហើយត្រូវបានការពារដោយ Cover ផ្នែកខាងលើ រឺផ្នែកខាងក្រោម រឺក៏ទាំងពីរផ្នែក។ ជាក់ស្តែង Apple ក៏បានបញ្ចេញនូវគំរោងផ្សេងមួយទៀត ដោយអ្នកប្រើប្រាស់អាចដោះ Cover ចេញបាន ដើម្បីភ្ជាប់ឧបករណ័ពីរបញ្ចូលគ្នា ដើម្បីបង្កើតបានឧបករណ៍មួយដែលមានអេក្រង់ធំជាងមុន៕


ដោយ៖ សិលាប្រភព៖ VE